The OpenNET Project / Index page

[ новости /+++ | форум | теги | ]

Каталог документации / Раздел "Cisco маршрутизаторы и коммутаторы" / Оглавление документа
*

Internetworking Technology Overview.

ГЛАВА 7. FDDI.



Библиографическая справка


Стандарт на "Волоконно-оптический интерфейс по распределенным данным" (FDDI) был выпущен ANSI X3Т9.5 (комитет по разработке стандартов) в середине 1980 гг. В этот период быстродействующие АРМ проектировщика уже начинали требовать максимального напряжения возможностей существующих локальных сетей (LAN) (в oсновном Ethernet и Token Ring). Возникла необходимость в новой LAN, которая могла бы легко поддерживать эти АРМ и их новые прикладные распределенные системы. Одновременно все большее значение уделяется проблеме надежности сети, т.к. администраторы систем начали переносить критические по назначению прикладные задачи из больших компьютеров в сети. FDDI была создана для того, чтобы удовлетворить эти потребности.

После завершения работы над FDDI, ANSI представила его на рассмотрение в ISO. ISO разработала международный вариант FDDI, который полностью совместим с вариантом стандарта, разработанным ANSI.

Хотя реализации FDDI сегодня не столь распространены, как Ethernet или Token Ring, FDDI приобрела значительное число своих последователей, которое увеличивается по мере уменьшения стоимости интерфейса FDDI. FDDI часто используется как основа технологий, а также как средство для соединения быстродействующих компьютеров, находящихся в локальной области.


Основы технологии


Стандарт FDDI определяет 100 Mb/сек. LAN с двойным кольцом и передачей маркера, которая использует в качестве среды передачи волоконно-оптический кабель. Он определяет физический уровень и часть канального уровня, которая отвечает за доступ к носителю; поэтому его взаимоотношения с эталонной моделью OSI примерно аналогичны тем, которые характеризуют IEEE 802.3 и IЕЕЕ 802.5.

Хотя она работает на более высоких скоростях, FDDI во многом похожа на Token Ring. Oбe сети имеют одинаковые характеристики, включая топологию (кольцевая сеть), технику доступа к носителю (передача маркера), характеристики надежности (например, сигнализация-beaconing), и др. За дополнительной информацией по Token Ring и связанными с ней технологиями обращайтесь к Главе 6 "Token Ring/IEEE 802.5".

Одной из наиболее важных характеристик FDDI является то, что она использует световод в качестве передающей среды. Световод обеспечивает ряд преимуществ по сравнению с традиционной медной проводкой, включая защиту данных (оптоволокно не излучает электрические сигналы, которые можно перехватывать), надежность (оптоволокно устойчиво к электрическим помехам) и скорость (потенциальная пропускная способность световода намного выше, чем у медного кабеля).

FDDI устанавливает два типа используемoгo оптического волокна: одномодовое (иногда называемое мономодовым) и многомодовое. Моды можно представить в виде пучков лучей света, входящего в оптическое волокно под определенным углом. Одномодовое волокно позволяет распространяться через оптическое волокно только одному моду света, в то время как многомодовое волокно позволяет распространяться по оптическому волокну множеству мод света. Т.к. множество мод света, распространяющихся по оптическому кабелю, могут проходить различные расстояния (в зависимости от угла входа), и, следовательно, достигать пункт назначения в разное время (явление, называемое модальной дисперсией), одномодовый световод способен обеспечивать большую полосу пропускания и прогoн кабеля на большие расстояния, чем многомодовые световоды. Благодаря этим характеристикам одномодовые световоды часто используются в качестве основы университетских сетей, в то время как многомодовый световод часто используется для соединения рабочих групп. В многомодовом световоде в качестве генераторов света используются диоды, излучающие свет (LED), в то время как в одномодовом световоде обычно применяются лазеры.


Технические условия FDDI


FDDI определяется 4-мя независимыми техническими условиями (смотри Рис. 7-1 "Стандарты FDDI"):

Media Access Control (MAC) (Управление доступом к носителю)
определяет способ доступа к носителю, включая формат пакета, обработку маркера, адресацию, алгоритм CRC (проверка избыточности цикла) и механизмы устранения ошибок.
Physical Layer Protocol (PHY) (Протокол физического уровня)
определяет процедуры кодирования/декодирования информации, требования к синхронизации, формированию кадров и другие функции.
Station Management (SMT) (Управление станциями)
определяет конфигурацию станций FDDI, конфигурацию кольцевой сети и особенности управления кольцевой сетью, включая вставку и исключение станций, инициализацию, изоляцию и устранение неисправностей, составление графика и набор статистики.




Физические соединения


FDDI устанавливает применение двойных кольцевых сетей. Трафик по этим кольцам движется в противоположных направлениях. В физическом выражении кольцо состоит из двух или более двухточечных соединений между смежными станциями. Одно из двух колец FDDI называется первичным кольцом, другое-вторичным кольцом. Первичное кольцо используется для передачи данных, в то время как вторичное кольцо обычно является дублирующим.

"Станции Класса В" или "станции, подключаемые к одному кольцу" (SAS) подсоединены к одной кольцевой сети; "станции класса А" или "станции, подключаемые к двум кольцам" (DAS) подсоединены к обеим кольцевым сетям. SAS подключены к первичному кольцу через "концентратор", который обеспечивает связи для множества SAS. Koнцентратор отвечает за то, чтобы отказ или отключение питания в любой из SAS не прерывали кольцо. Это особенно необходимо, когда к кольцу подключен РС или аналогичные устройства, у которых питание часто включается и выключается.

На Рис. 7-2 "Узлы FDDI: DAS, SAS и концентратор" представлена типичная конфигурация FDDI, включающая как DAS, так и SAS.



Каждая DAS FDDI имеет два порта, обозначенных А и В. Эти порты подключают станцию к двойному кольцу FDDI. Следовательно, как это показано на Рис. 7-3 "Порты DAS FDDI", каждый порт обеспечивает соединение как с первичным, так и со вторичным кольцом.




Типы трафика


FDDI поддерживает распределение полосы пропускания сети в масштабе реального времени, что является идеальным для ряда различных типов прикладных задач. FDDI обеспечивает эту поддержку путем обозначения двух типов трафика: синхронного и асинхронного. Синхронный трафик может потреблять часть общей полосы пропускания сети FDDI, равную 100 Mb/сек; остальную часть может потреблять асинхронный трафик. Синхронная полоса пропускания выделяется тем станциям, которым необходима постоянная возможность передачи. Например, наличие такой возможности помогает при передаче голоса и видеоинформации. Другие станции используют остальную часть полосы пропускания асинхронно. Спецификация SMT для сети FDDI определяет схему распределенных заявок на выделение полосы пропускания FDDI.

Распределение асинхронной полосы пропускания производится с использованием восьмиуровневой схемы приоритетов. Каждой станции присваивается определенный уровень приоритета пользования асинхронной полосой пропускания. FDDI также разрешает длительные диалоги, когда станции могут временно использовать всю асинхронную полосу пропускания. Механизм приоритетов FDDI может фактически блокировать станции, которые не могут пользоваться синхронной полосой пропускания и имеют слишком низкий приоритет пользования асинхронной полосой пропускания.


Особенности отказоустойчивости


FDDI характеризуется рядом особенностей отказоустойчивости. Основной особенностью отказоустойчивости является наличие двойной кольцевой сети. Если какая-нибудь станция, подключенная к двойной кольцевой сети, отказывает, или у нее отключается питание, или если поврежден кабель, то двойная кольцевая сеть автоматически "свертывается" ("подгибается" внутрь) в одно кольцо, как показано на Рис.7-4 "Конфигурация восстановления кольца при отказе станции". При отказе Станции 3, изображенной на рисунке, двойное кольцо автоматически свертывается в Станциях 2 и 4, образуя одинарное кольцо. Хотя Станция 3 больше не подключена к кольцу, сеть продолжает работать для оставшихся станций.



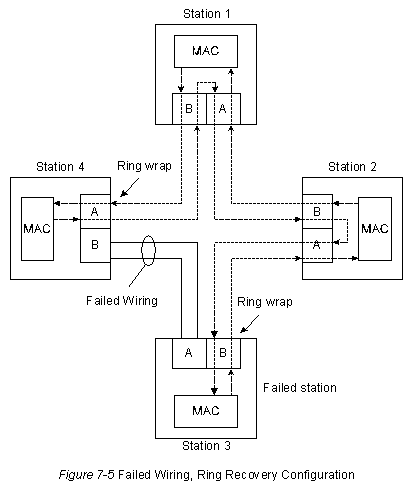
На Рис. 7-5 "Конфигурация восстановления сети при отказе кабеля" показано, как FDDI компенсирует отказ в проводке. Станции 3 и 4 свертывают кольцо внутрь себя при отказе проводки между этими станциями.



По мере увеличения размеров сетей FDDI растет вероятность увеличения числа отказов кольцевой сети. Если имеют место два отказа кольцевой сети, то кольцо будет свернуто в обоих случаях, что приводит к фактическому сегментированию кольца на два отдельных кольца, которые не могут сообщаться друг с другом. Последующие отказы вызовут дополнительную сегментацию кольца.

Для предотвращения сегментации кольца могут быть использованы оптические шунтирующие переключатели, которые исключают отказавшие станции из кольца. На Рис. 7-6 показано "Использование оптического шунтирующего переключателя".



Устройства, критичные к отказам, такие как роутеры или главные универсальные вычислительные машины, могут использовать другую технику повышения отказоустойчивости, называемую "двойным подключением" (dual homing), для того, чтобы обеспечить дополнительную избыточность и повысить гарантию работоспособности. При двойном подключении критичное к отказам устройство подсоединяется к двум концентраторам. Одна пара каналов концентраторов считается активным каналом; другую пару называют пассивным каналом. Пассивный канал находится в режиме поддержки до тех пор, пока не будет установлено, что основной канал (или концентратор, к которому он подключен) отказал. Если это происходит,то пассивный канал автоматически активируется.


Формат блока данных


Форматы блока данных FDDI (представлены на Рис. 7-7) аналогичны форматам Token Ring.



preamble
Заголовок подготавливает каждую станцию для приема прибывающего блока данных.
start delimiter
Ограничитель начала указывает на начало блока данных. Он содержит сигнальные структуры, которые отличают его от остальной части блока данных.
frame control
Поле управления блоком данных указывает на размер адресных полей, на вид данных, содержащихся в блоке (синхронная или асинхронная информация), и на другую управляющую информацию.
destination address
Также, как у Ethernet и Token Ring, размер адресов равен 6 байтам. Поле адреса назначения может содержать односоставный (единственный), многосоставный (групповой) или широковещательный (все станции) адрес, в то время как адрес источника идентифицирует только одну станцию, отправившую блок данных.
data
Информационное поле содержит либо информацию, предназначенную для протокола высшего уровня, либо управляющую информацию.
frame check sequence
Также, как у Token Ring и Ethernet, поле проверочной последовательности блока данных (FCS) заполняется величиной "проверки избыточности цикла" (CRC), зависящей от содержания блока данных, которую вычисляет станция- источник. Станция пункта назначения пересчитывает эту величину, чтобы определить наличие возможного повреждения блока данных при транзите. Если повреждение имеется, то блок данных отбрасывается.
end delimiter
Ограничитель конца содержит неинформационные символы, которые означают конец блока данных.
frame status
Поле состояния блока данных позволяет станции источника определять, не появилась ли ошибка, и был ли блок данных признан и скопирован принимающей станцией.


Данный документ подготовлен для HTML версии Владимиром Плешаковым.
Версия: 0.1

Vladimir V. Pleshakov , pvv@quorus.ru.



Партнёры:
PostgresPro
Inferno Solutions
Hosting by Hoster.ru
Хостинг:

Закладки на сайте
Проследить за страницей
Created 1996-2026 by Maxim Chirkov
Добавить, Поддержать, Вебмастеру